TAP top app download banner
theAsianparent
theAsianparent
Product Guide
  • Together Against RSV
  • SG60
  • Pregnancy
  • Parenting
  • Child
  • Feeding & Nutrition
  • Education
  • Lifestyle
  • Events
  • Holiday Hub
  • Aptamil
  • TAP Recommends
  • Shopping
  • Press Releases
  • Project Sidekicks
  • Community
  • Advertise With Us
  • Contact Us
  • VIP
Login
    • Articles
  • Together Against RSVTogether Against RSV
  • SG60SG60
  • PregnancyPregnancy
  • ParentingParenting
  • ChildChild
  • Feeding & NutritionFeeding & Nutrition
  • EducationEducation
  • LifestyleLifestyle
  • EventsEvents
  • Holiday HubHoliday Hub
  • AptamilAptamil
  • TAP RecommendsTAP Recommends
  • ShoppingShopping
  • Press ReleasesPress Releases
  • Project SidekicksProject Sidekicks
  • CommunityCommunity
  • Advertise With UsAdvertise With Us
  • Contact UsContact Us
  • VIPVIP
    • Community
  • Poll
  • Photos
  • Food
  • Recipes
  • Topics
  • Read Articles
    • Tracker
  • Pregnancy Tracker
  • Baby Tracker
    • Rewards
  • RewardsRewards
  • Contests
  • VIP ParentsVIP Parents
    • More
  • Feedback

Privacy PolicyCommunity GuidelinesSitemap HTML

Download our free app

google play store
app store

Toddler stabbed in the eye and brain by large pencil

3 min read
Toddler stabbed in the eye and brain by large pencil

The 2-year-old girl apparently tripped and stabbed herself with the pencil she was holding...

Mums, try as you might to keep your child from holding on to sharp objects, your ever curious toddler still has no concept of how simple objects can be safety hazards. Take, for instance, Wren Bowell who accidentally stabbed herself in the eye with a pencil.

Toddler’s eye stabbed by pencil that jams itself into her brain

According to a post shared by Medicare Video, which has since gone viral, the two-year-old was happily drawing in her room before running to her parents to show off her creation.

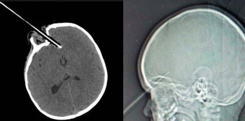
This is when she tripped on a stair gate while holding a pencil. As confirmed by an X-ray (photos above), the sharpened pencil stabbed her in the eye and then penetrated all the way into 1 1/2 inches of the front of her brain. 

toddlers eye stabbed

Toddler’s eye stabbed by pencil in freak accident: The pencil pierced through the toddler’s eye and lodged itself into her brain, just missing vital arteries. | Images from: Medicare Video

Toddler’s eye stabbed, but she miraculously survives!

After an operation which lasted for four hours, doctors happily reported that the toddler made it through the frightening accident. 

Fortunately, the sharp pencil missed her eye ball and other major blood vessels by a mere millimetre! Doctors were amazed that the pencil merely passed between the eyeball and the socket.

Had this not been the case, then the toddler’s eye could have bled severely or become infected. Worse, the accident could have left her permanently disabled.

Good thing the toddler’s mum, who is a nurse, kept calm, knowing better than to try to get the pencil out before help arrived.

Pulling the pencil out could have worsened the situation by causing heavy bleeding or further injuring the eye.

What this incident can teach parents about safety during play

No parent ever wants to see their child in any pain, so it’s best to be extra vigilant. This applies to hazards in the home, and even to seemingly harmless objects used for play and amusement. 

toddlers eye stabbed

Even objects used for play can be safety hazards. Be careful, mums and dads!

Active supervision is key! Here are important safety tips to remember. 

  • When your toddler is playing with pens or pencils, make sure to keep an eye on them. Even child-friendly drawing tools can cause injury. 
  • Make sure to childproof your child’s play area, ensuring that only age-appropriate toys are within reach. If you have kids of varying ages, supervise them during play. 
  • Make sure to supervise kids during playdates. Some kids can tend to play too roughly with others.
  • When outdoors, make sure they wear the proper gear, as well as sunscreen.
  • Keep loose drawstrings or scarves away from kids. These can be strangulation hazards. 
  • If they are playing sports or swimming, make sure they stretch properly and warm up before starting.
  • When in a playground, make sure to keep kids under five years old away from bigger kids.
  • Check the area for potential safety hazards, such as rusty equipment or sharp edges.
  • Always check your home or your child’s play area for objects that could be choking, strangulation, or even electrocution hazards. Sometimes dangers can hide in plain sight!

 

Sources: National Center for Biotechnology Information (NCBI), Healthline, Medicare Video, Safe Kids Worldwide

READ THIS ALSO: Toddler suffers burns from playground slide, mum shares important warning

Partner Stories
Unlocking Financial Independence for the Next Generation
Unlocking Financial Independence for the Next Generation
Games to Play With Kids Indoors: 8 Fun Games You Can Play When You're Too Tired to Move
Games to Play With Kids Indoors: 8 Fun Games You Can Play When You're Too Tired to Move
Is Your Child’s Car Seat Still Safe? The EU Standard That Just Expired—and What It Means for You
Is Your Child’s Car Seat Still Safe? The EU Standard That Just Expired—and What It Means for You
How Stokke Products Can Be The Second-Best Gift To Parents After Giving Birth?
How Stokke Products Can Be The Second-Best Gift To Parents After Giving Birth?

Got a parenting concern? Read articles or ask away and get instant answers on our app. Download theAsianparent Community on iOS or Android now!

img
Written by

Bianchi Mendoza

  • Home
  • /
  • Real Stories
  • /
  • Toddler stabbed in the eye and brain by large pencil
Share:
  • DeRAMA: Honouring motherhood through transformative postpartum care

    DeRAMA: Honouring motherhood through transformative postpartum care

  • Festive Buffets the Whole Family Will Love (Yes, Even the Kids)

    Festive Buffets the Whole Family Will Love (Yes, Even the Kids)

  • From Arcades to Cyberspace: Where Teens Hang Out Has Changed. Here’s How Parents Can Keep Them Safe

    From Arcades to Cyberspace: Where Teens Hang Out Has Changed. Here’s How Parents Can Keep Them Safe

  • DeRAMA: Honouring motherhood through transformative postpartum care

    DeRAMA: Honouring motherhood through transformative postpartum care

  • Festive Buffets the Whole Family Will Love (Yes, Even the Kids)

    Festive Buffets the Whole Family Will Love (Yes, Even the Kids)

  • From Arcades to Cyberspace: Where Teens Hang Out Has Changed. Here’s How Parents Can Keep Them Safe

    From Arcades to Cyberspace: Where Teens Hang Out Has Changed. Here’s How Parents Can Keep Them Safe

Feed

Feed

Get tailored articles about parenting, lifestyle, expert opinions right at your fingertips

Poll

Poll

Participate in interesting polls and see what other parents think!

Photos

Photos

Share the photos of loved ones in a safe, secure manner.

Topics

Topics

Join communities to bond with fellow mums and dads.

Tracker

Tracker

Track your pregnancy as well as baby’s development day-by-day!

theAsianparent

Download our free app

Google PlayApp Store

Mums around the world

Singapore flag
Singapore
Thailand flag
Thailand
Indonesia flag
Indonesia
Philippines flag
Philippines
Malaysia flag
Malaysia
Vietnam flag
Vietnam

Partner Brands

Rumah123VIP ParentsMama's ChoiceTAP Awards

© Copyright theAsianparent 2026 . All rights reserved

  • About Us
  • Privacy Policy
  • Terms of Use
  • Sitemap HTML
  • Tools
  • Articles
  • Feed
  • Poll

We use cookies to ensure you get the best experience. Learn MoreOk, Got it

We use cookies to ensure you get the best experience. Learn MoreOk, Got it